Hirdetés
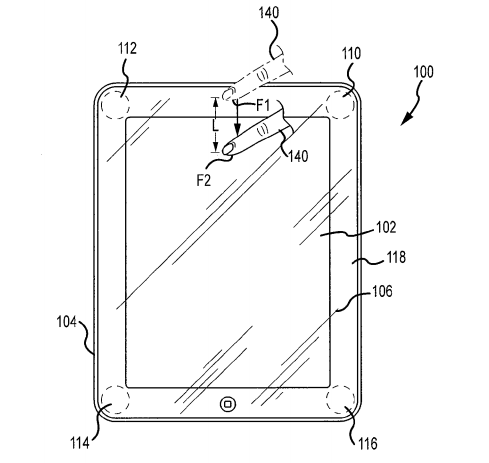
Úgy tűnik, hogy újabb lehetőségek után kutat a kapacitív beviteli technológiában rejlő lehetőségeket maximálisan kiaknázó Apple, mely valamivel több mint egy évvel ezelőtt két érdekes megoldást is levédetett. Az egyik a nyomás erejét is érzékelő kijelzők használatának előnyeit taglalja, mely segítségével a több ujjal végzett vezérlőműveletek felismerése is pontosabbá tehető. A másik szabadalmi bejegyzés a táblagépek használati lehetőségeit bővítené a káva négy sarkába rejtett nyomásérzékelő szenzorokkal, melyek segítségével különböző műveletek aktiválása lehetséges. Egyelőre nem tudni, hogy az Apple valóban alkalmazni fogja-e az újonnan levédetett megoldásait, mellyel egyébként más gyártók is kísérleteznek.

