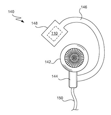
Elemzői várakozások szerint az iOS 7 és az iPhone 6 az egészségügyi szenzorok bevetésére fog fókuszálni, melyek nem csak a betegségek felismerésében segíthetnek, de sportoláshoz is hasznosak lehetnek. Egy korábbi szabadalmi bejegyzés is megerősíti, hogy az Apple már régóta foglalkozik a nem invazív szenzortechnológiák fejlesztésével, melyek szinte észrevétlenül integrálódhatnak a telefonos tartozékokba. Az alant látható kép egy pulzus, testhőmérséklet és izzadság mérésére is alkalmas szenzorokkal ellátott fülhallgató alapkoncepcióját rögzíti, mely segítségével folyamatosan monitorozható viselőjének fizikai állapota.

