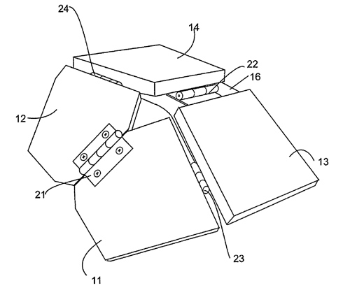
Many are frightened by the thought of using sliding hinge solutions in phones, as they consider these only as a new source of error. Although this way a larger display and a keyboard can be integrated in a small phone, in fact mechanics with some play are frequent. The new kind of foldable phone concept, patented by the Finnish manufacturer, has four hinges, as the unit made up of four parts can be folded twice. The little bit bizarre idea, combined with Samsung's foldable OLED screen, allows the creation of such a communicator, equipped with a huge display and a QWERTY keyboard, that fits in a very small place when closed. It is not yet known if Nokia will ever launch such a phone, but it's sure that the patent has been registered, and further details are available at this address.

Translated by Szaszati

