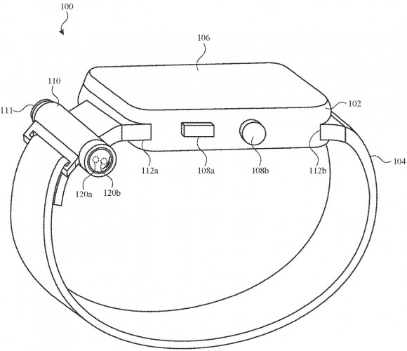
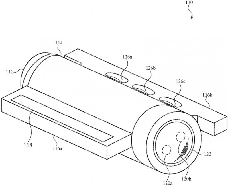
A legtöbb okosóra rendelkezik olyan funkcióval, ami extra fényforrást biztosít, bár a maximális fényerőre tolt hófehér kijelző maximum arra elegendő, hogy éjszaka ne essünk orra a macskában/dömperben, amíg a lakáson belül elérünk A-ból B-be. Az Apple megoldása a masszívabb világításra az úgynevezett Moduláris lámpaegység hordható eszközhöz, ami a tervrajz alapján konkrétan egy szíjra erősíthető mini zseblámpa.

A külső fényforrás közvetlenül kommunikálna az rendszerrel, így a vezérlés az óráról történne, a beépített akkumulátor biztosítja, hogy az óra üzemidejét ne befolyásolja a kiegészítő használata, az IP védettség pedig lehetővé teszi, hogy a lámpa minden olyan környezetben használható legyen, ahol az Apple Watch is állja a sarat. Bár az 5 ATM nyomástűrésre azért így látatlanban nem fogadnánk, úgyhogy nem valószínű, hogy ezzel fogunk világítani búvárkodás közben, de egy kis eső vagy vizes környezet biztosan nem lesz akadály.


