Hirdetés
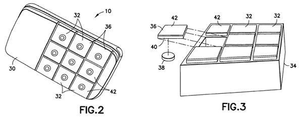
A Nokia hosszú évek óta kísérletezik az érintés-visszajelzéses technológiák tökéletesítésén, hogy az üveggel borított kapacitív paneleken ugyanolyan gyors és kényelmes legyen a gépelés, mint a hagyományos billentyűzeten. Ez persze nem egyszerű feladat, hiszen a sík felületen látható virtuális vezérlőelemek peremét nem lehet úgy kitapintani, mint a fizikai gombokét, ám korábbi szabadalmak szerint amplitúdó és frekvencia modulált rezgések bevetésével akár különböző érdességek és apró szintkülönbségek szimulálására is lehetőség nyílik. A finn gyártó legújabb ötlete kissé más irányba tekint, hiszen a kijelző alá mátrixba rendezett vibrációkeltők célja inkább a különböző irányban haladó rezgések keltése lehet, mely egészen új távlatokat nyithat a kezelőfelületek és a navigációs alkalmazások számára is. A zsebbe helyezett készülék például hangos és képi visszajelzés nélkül is képes lehet figyelmeztetni kanyarodásra vagy a haladási irány megváltoztatására, hiszen a külön-külön vezérelt rezgéskeltők körkörös, vízszintes, függőleges vagy akár belülről kifelé vagy kívülről befelé irányban is képes vibrációt kelteni, mely nadrágzseben át is tökéletesen érezhető. Hogy a rendszer valaha bevetésre kerül-e arról egyelőre nincs információ, de mindenesetre jó látni, hogy a jelentős megszorítások ellenére a Nokia továbbra is sokat áldoz a jövő technológiáinak kutatására.

