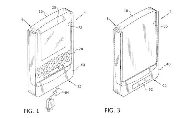
A szebb napokat is megélt Research In Motion továbbra is elkötelezett az innovatív megoldások iránt, éppen ezért szinte ontja magából az újabbnál újabb szabadalmi bejegyzéseket. Az alant látható, beépített akkumulátorral szerelt övtáska szintén egy kellemes újításnak tűnik, hiszen a legtöbb kabátba integrált megoldással ellentétben ez csupán az üzemidőt növeli meg, de a készülék fizikai méretét nem. A kanadai gyártó szerint az elegáns megjelenés és a kellően nagy kapacitás eléréséhez hajlékony akkumulátorcellák szükségesek, melyek segítségével maximálisan kiaknázható a karcsú hordtáska teljes felülete.

