A fizikai gombsorok kitapinthatóságát és a gombok benyomásának érzését a gyártók hosszú ideig a megjelenítők rezgéseivel próbálták pótolni, melyek között rezgések modulálásán alapuló megoldások és a kissé benyomható kijelző alá elhelyezett gombszerű érzékelők is szerepeltek. A zsákutcának tűnő fejlesztések után az Apple nemrég napvilágot látott szabadalma a nyomásérzékeny megjelenítők használatának lehetőségeit írta le, melyek segítségével többek között a véletlen érintések kiszűrése is egyszerűbbé válna.
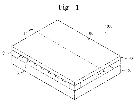
A Samsung legújabb szabadalmának fő témája szintén a kijelzőt érintő ujjak nyomásának detektálása, ám ehhez a korábban alkalmazott külső alkatrészek helyett magába a panelbe ágyazott szenzorok kerülnek bevetésre. A fizikai behatás függvényében az elektromos ellenállásukat változtató vékony rétegű grafén vagy szén-nanocső érzékelők bevetésével nem csak a virtuális kezelőszervek véletlen érintéseit lehet kiszűrni, de közvetlenül vezérlésre is felhasználható, mely a játékvezérlés számára is új dimenziókat nyithat.

