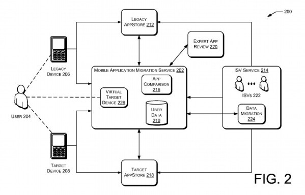
A Microsoft jól tudja, hogy az okostelefon tulajdonosok zöme néhány alkalmazást előszeretettel használ a készülékén, így a Windows Phone platformra történő átállás előtt szeretne meggyőződni arról, hogy a számára nélkülözhetetlen szoftverek rendelkezésre állnak-e. Egy 2010 novemberében benyújtott szabadalmi bejegyzés szerint a szoftveróriás olyan szolgáltatáson, egészen pontosan Android és iOS migrációs alkalmazáson dolgozik, mely a készülékre telepített alkalmazásokhoz hasonló megoldásokat tud felajánlani a Windows Phone Marketplace online piactérről, amennyiben egyelőre nincs ilyen, akkor annak elkészültekor értesítést is tud küldeni. A Microsoft elképzelése szerint a rendszer akár az alkalmazás-beállítások átmentésében is segíthet, de ennek pontos működéséről egyelőre nincs információ.

