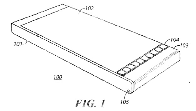
A nemrég hivatalosan is útjára indított BlackBerry Passport a szokatlanul széles kialakítása mellett az újszerű beviteli megoldásával is magára vonja a figyelmet, mely a fizikai billentyűzet kényelmét ötvözi a virtuális kezelőszervek sokoldalúságával. A készülék alsó részén található, könnyen kitapintható gombsor a betűkön kívül csupán a szóköz, szövegbevitel és törlés billentyűket tartalmazza, minden más speciális jel és szám az érintőkijelző alsó részén jelenik meg, a megadni kívánt szöveg típusához alkalmazkodva. A képszülék bemutatását követően John Chen, a kanadai vállalat első embere a vállalat jövő éves termékstratégiájáról is beszélt, mely a feltörekvő piacokra szánt olcsóbb modellek mellett egy újabb innovatív formatervezésű megoldást is ígér.

John Chen
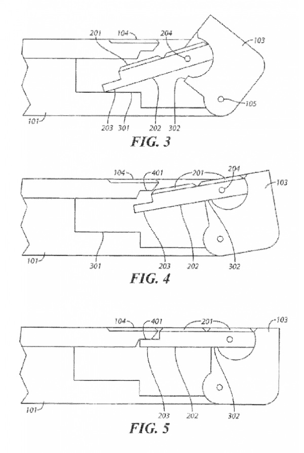
Érthető okok miatt pontos részletekről nem esett szó, ám a BerryReview nemrég két új szabadalmi bejegyzésre is rábukkant, melyben szintén újszerű kialakítást vázol fel a kanadai vállalat. A nemrég levédetett „Visa” és „Victoria” kódnevű modellek közül az egyik az alant látható kialakítású fizikai gombsorral érkezik majd, mely érdekessége, hogy alapállapotban csupán egyetlen sort tartalmaz, de igény szerint három soros teljes QWERTY billentyűzet is „kifordítható” a készüléktest alsó részéből. A megoldás célja egyértelműen a lehető legkompaktabb kivitel elérése, hiszen így a használaton kívüli billentyűzet a megjelenítő alatt lapul, miközben az egyetlen gombsor általános célú vezérlőbillentyűket tartalmazhat. A mechanika pontos működése az utolsó képsoron látható.



