Nokia has leaked a number of new handset designs, and a new User Interface. The first handset has a swivelling form-factor, ala the 7370...or that's what you get when you open it with your left hand. However, open it with your right hand, and the phone reveals a touchscreen, in place of the phone's keypad, thanks to a hinge, which, when the phone is open, reveals a normal keypad, or a touchscreen, depending on what way the phone is opened.

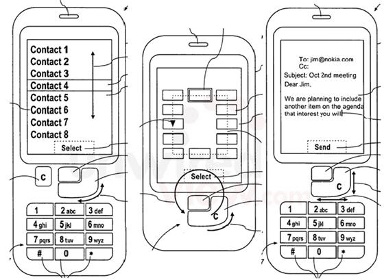
Next, Nokia's version of a touch interface. The d-pad – actually a scrollbar, is curved, and boasts touch sensitivity. It is more minimalistic than a circular scrollbar, and looks to be easier to use, of course only after one gets used to it.

Rounding out this array of concepts is a form-factor tailored to media playback. Watching a film on your phone can be quite tedious, and, if you lay the phone on a flat surface, you can only see the screen properly from lowering your neck. On the concept below you can observe that the display and the keypad are connected only through the "H"-shaped part, which makes both parts rotatable. The keypad offers a steady support for the display during moive playback and we can even use two different types of keyboards.

Translated by Szaszati


