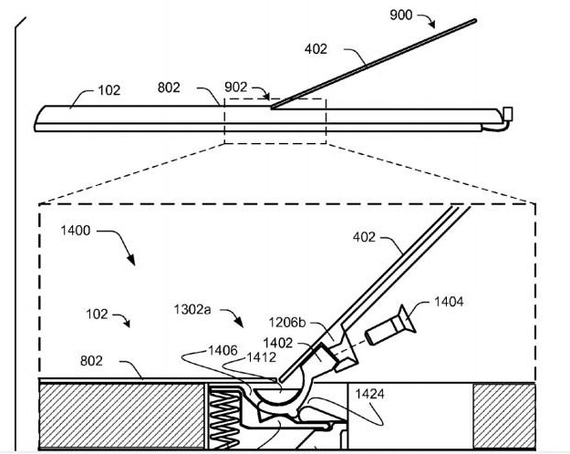
Az első generációs Surface sorozat egyik érdekessége a hátoldalon szinte észrevétlenül meglapuló asztali támasza lehet, mely bármilyen sík felületen kényelmes használatot biztosít. Az egyetlen baj csupán, hogy nem minden esetben ugyanazon dőlésszög a legkényelmesebb, éppen ezért az újabb sorozatban kétállású változattal kísérletezik a Microsoft. Az alant látható kép a kapcsolódó szabadalmi bejegyzésből származik, mely a rúgós szerkezet működését ábrázolja sematikusan. A Windows 8.1 október végi premierjével együtt debütáló Intel Haswell alapú Surface Pro 2 és az ARM processzor köré épülő Surface 2 végleges specifikációja egyelőre nem ismert.

