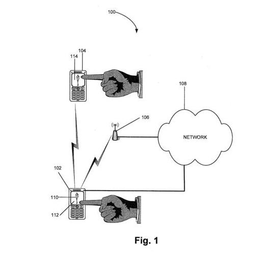
A japán-svéd gyártó mindig is élen járt az izgalmas új funkciók bemutatásával. Elég megemlíteni a kamera előtti legyintéssel történő hívásnémítást, vagy a nemrég levédetett automatikus zoom megoldást, mely segítségével a telefonon futó szoftver automatikus nagyításba kezd, ha valaki közelebb mozdítja telefonját a lefényképezni kívánt tárgyhoz. A Sony Ericsson természetesen az UIQ bukása után is elkötelezett maradt az egyre nagyobb népszerűségnek örvendő érintőkijelzős megoldások iránt, mely számos érdekes újításra ad lehetőséget. A nemrég szabadalmaztatott eljárás azt írja le, hogyan lehet az érintéssel történő vezérlőjelek hatására másik mobiltelefonnal adatot megosztani. A megoldáshoz tehát két készülék szükséges. Az egyik egy érintőkijelzős eszköz, mely fogadja a kijelzőre rajzolt vezérlőjeleket, majd kis hatótávolságú vezeték nélküli átvitel segítségével átküldi egy másik készülékre mely értelmezi és feldolgozza azokat. A másik eszköz a vezérlőjel hatására akár a mobilhálózatra is kapcsolódhat, hogy hozzájusson a megfelelő információhoz. A japán-svéd gyártó nem csupán az ujjal rajzolt jelek alakját dolgozná fel, hanem a vezérlőjelek megrajzolásának idejét, az ujj nyomásának mértékét (például az érzékelt ujjlenyomat átmérőváltozása vagy a kijelző kapacitásváltozása alapján), a mozgás sebességét, az ujjak közötti távolságot, vagy akár magát az ujjlenyomatot esetleg az ujj háromdimenziós képét is felhasználná.

