Sok-sok évvel ezelőtt a Samsung több olyan hajlítható képernyős prototípust demózott, amelyek két zsanérral rendelkeztek. Harmonikamobilja először mégis a Huawei-nek lett, és egészen az idei év végéig kell várni a Samsung válaszára. Ez lesz egyre több megbízható forrás szerint a Galaxy Z TriFold, a bemutató pedig az október 31-e és november 1-je közé eső Asia-Pacific Economic Cooperation expó valamelyik napján tehet. Magyarul pár hét múlva.
Bár ezeket a különleges eszközöket gyakran párhuzamosan fejlesztik a gyártók, mivel több év kemény munkája a piacra kerülésük, elkerülhetetlen, hogy a riválisok előbb végezzenek. Ezért is fontos időben és a megfelelő helyeken szabadalmi védelemért folyamodni a tervezés és a felépítés specifikus részleteibe belemenve, nehogy a riválisok saját szabadalom alapján pert indítsanak.
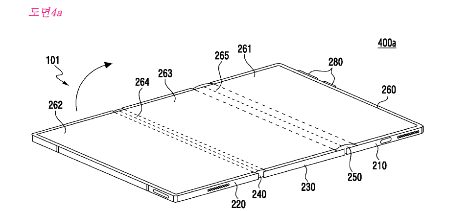
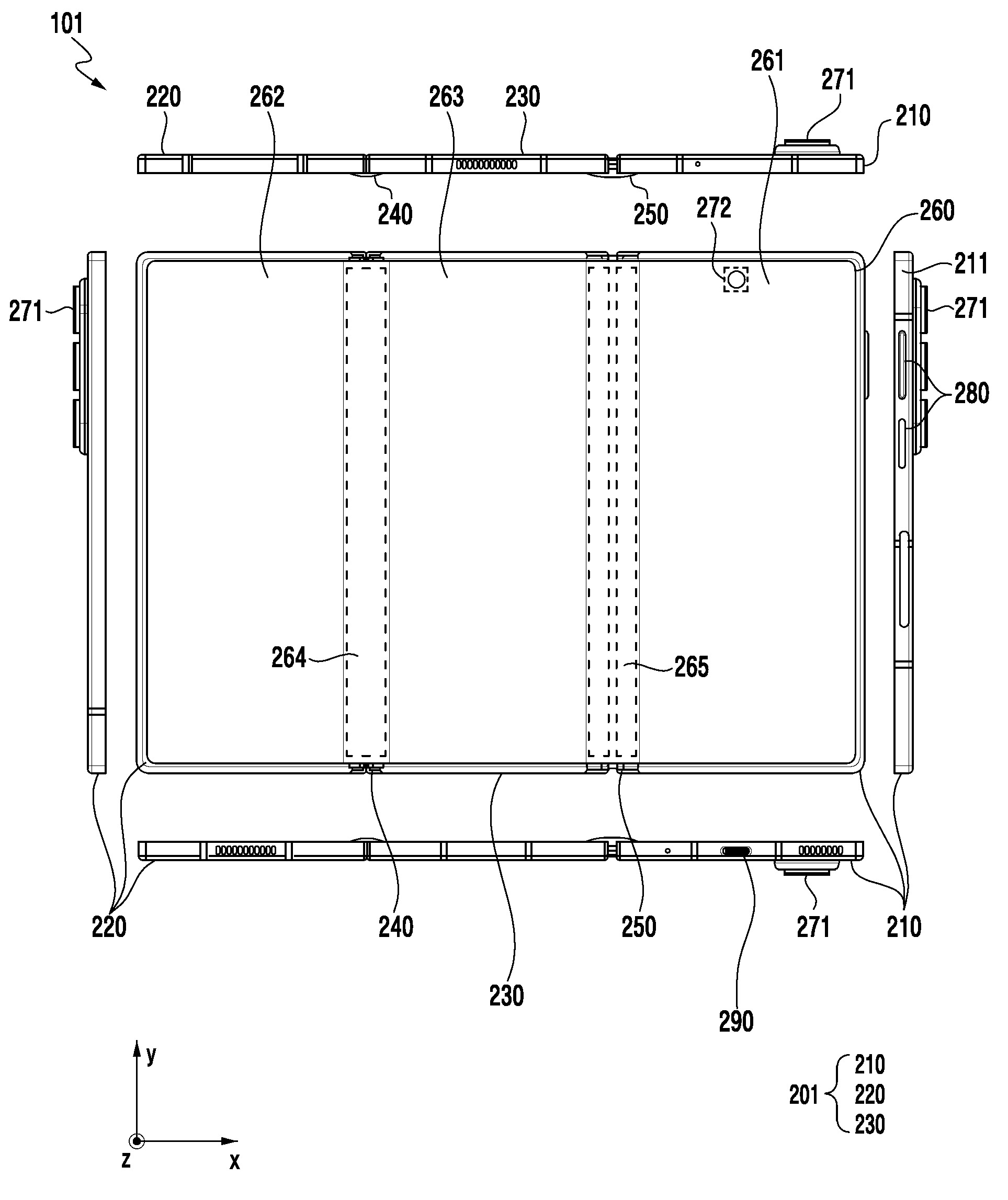
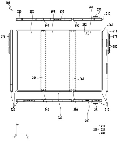
A Samsung 2024. április 30-án folyamodott formatervezési mintájával, „hajlítható eszköz hajlítható házzal” néven szabadalmi védelemért a Koreai Szellemi Tulajdonjogok Információs Szolgáltatásához, és a KIPRIS másfél év vizsgálat után a jogi védelmet 2025. szeptember 30-án megadta, a kérelem publikálása mellett.

(a képek forrása: KIPRIS)
A dokumentumban jól látszik a TriFold, vagy legalábbis egy hasonló Galaxy belső felépítése három akkumulátorral, dupla zsanérral és a komponensek ügyes elhelyezésével. Bár a minták alapján nehéz lenne a méretekre és a vastagságra következtetni, eséllyel ezt a dizájnkoncepciót követi majd a TriFold, ha már szabadalmi védelmet élvez Dél-Koreában.

