Közismert, hogy az Apple ódzkodik minden olyan megoldástól, mely a felhasználó számára komplikált lehet, így gyakran előfordul, hogy iparági szabványok alkalmazása helyett inkább újra feltalálja a kereket. Jó példa erre az App Store alkalmazásbolt, az iCloud online tárhely, a FaceTime videohívás, az SMS-szerkesztőbe integrált iMessage csevegőszoftver, a vezeték nélküli zene- vagy videolejátszást biztosító AirPlay, a kábelt nem igénylő nyomtatókhoz tervezett AirPrint vagy az OS X Lion vezetékmentes fájlmegosztó szolgáltatása, az AirDrop. A fentiek egyike sem igényel speciális beállításokat, meghajtószoftverek telepítését vagy technikai ismereteket az ad-hoc WLAN hálózatok kiépítésével kapcsolatban, egyszerűen csak működik.
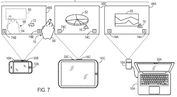
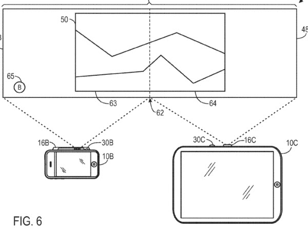
Úgy tűnik, hogy a tavalyi év nagy durranása, a mára kissé feledésbe merült mini projektorok szintén megmozgatták az Apple fantáziáját, melyet szolgáltatások széles tárházával képzel el készülékeiben vagy épp azokhoz csatolható kiegészítőként. Az egyik legfontosabb újítás a kivetített képen kamera segítségével történő több ujj érintéseinek követése lehet, mely üzleti prezentációk során és filmlejátszáskor is leegyszerűsíti a távvezérlést. Ugyanilyen érdekesnek tűnik a több eszköz segítségével létrehozott egységes vetítőfelület is, mely a készülékek közötti vezetékmentes kommunikáció révén valóban teljes egységet alkothat. A megjelenített tartalmak így az egyesített felületen szabadon átmozgathatóak lehetnek, illetve a lejátszott videók is kitölthetik a teljes teret. A szabadalmi bejegyzés szerint a harmadik lehetséges felhasználási terület a készülékek közötti adatmozgatás lehet, mely az egymás mellé kivetített képek között, ikonok vagy más tartalmak áthúzásával történhet.


