Hirdetés
Egyelőre nem robbant be a techpiacra a Google Glass, sőt: úgy tűnik, hogy a kiterjesztett valóság (AR) helyett a virtuális fog széles körben elterjedni (VR), köszönhetően az Oculus, a Samsung és a többi szereplő megoldásainak (Cardboard néven a keresőóriásnak erre is van saját projectje).
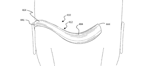
A Google ennek ellenére folytatja a Glass fejlesztését, és az amerikai szabadalmi hivatal most elfogadott egy korábban benyújtott formatervezési mintakérelmet. Elölről az jól látszik, hogy a korábbinál vékonyabb, hullámosabb küllemével a „szemüveg”, (ha lehet egyáltalán annak nevezni) divatosabb lehet a meglehetősen egyszerű, ipari dizájnt követő elődhöz képest.
Ám hátul érdekesebb a friss megoldás: a minta szerint ugyanis a lehetséges új Glasst pántszerűen lehet majd felerősíteni a fejre, így várhatóan nem lesz szükség szemüveg használatára csak azért, hogy a kütyüt a felhasználó egyáltalán viselni tudja. Az önálló, azaz nem szemüvegként való hordás talán hozzájárulhat, hogy többen tegyék le a voksukat a Glass mellett, már ha formatervezési mintából tényleg lesz ilyen küllemmel újjászületett Google AR-kiegészítő.
