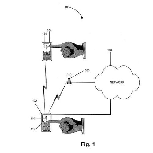
The Japanese-Swedish manufacturer has always been a leader in announcing exciting new features. We might just mention call muting by waving in front of the camera, or the recently patented automatic zooming, which makes the phone's software start zooming automatically if someone moves the phone closer to the picture's subject. Sony Ericsson is of course still committed to touchscreen solutions that have an increasing popularity, which means lots of interesting new features. The recently patented process describes how can one share data with another mobile phone through touches, which means that the solution requires two phones. One of these is a touchscreen device that receives the command signs drawn on the screen and with the help of short-range wireless transfer they pass it on to another device which interprets and processes these. The other device, in a response to these commands, can even connect to the mobile network in order to access the appropriate information. The Japanese-Swedish manufacturer wouldn't process only the shape of the signs drawn with a finger, but also the degree of force applied, the speed of drawing, the speed of motion, the distance between fingers, or even the fingerprint or the 3D picture of the finger.

Translated by Szaszati


